将普通电动滚筒中的电动机移出来,筒体内仍有减速机构的滚筒常称为减速滚筒。减速滚筒再与电动机外联,就构成了电机外装式电动滚筒,常简称外装式电动滚筒。
外装式电动滚筒式介于传统的电机-减速机-传动筒的开式传动与普通电动滚筒驱动之间的一种输送机驱动装置,它具有电机在外散热性能好,而且容易对电机进行维修或更换等优点。在占有空间位置和制造材料方面,均比开式传动减少三分之一左右,但比普通电动滚筒又增加三分之一左右。
外装式电动滚筒式目前国内工业要求下的产物,因为从逻辑原理图上分析,主要部件仍属串联联接,而且至少增加一件传动轴。从可靠性上分析,并没有增加可靠性。可是由于它的电机散热性好,电机的安装,维修和检查方便,以及在占据空间位置及制造材料上,比老式的开式传动优越,所以国内外装式电动滚筒多用在大功率上。外装式电动滚筒,由于电机散热的优点,在某些大功率场合还是较合适的驱动装置。
外装式电动滚筒的型式代号
由于外装式电动滚筒在我国乃至世界上尚属于带式传送机的新型驱动装置,我国电动滚筒行业尚未制订统一的产品型式代号。生产外装式电动滚筒的厂家很多,各厂家的代号不尽相同,而且差别较大,我公司根据JB/T7330-2008标准,设计开发了定轴齿轮,摆线针轮,行星齿轮三种传动型式的外装式电动滚筒,其代号如下 :
按JB/T7330-2008标准,配用隔爆电机代号为B,带逆止器代号为N。
外装式电动滚筒的传动结构
(1)YDW型为两级减速的定轴齿轮传动结构,根据需要也可制造成三级减速(0.08~0.63米/秒之间的低带速),齿形,齿轮精度,齿轮材质一般和普通电动滚筒相同。电机功率18.5-45KW时,内部传动齿轮采用硬齿面制作,属于定轴齿轮的延伸型新产品。
(2)YZW型摆线针轮传动结构的外装式电动滚筒,这是由一级硬齿面的针齿壳输出的摆线针轮减速机构,转动啮合件为轴承钢制造,硬度达HRC58-62。适合功率11KW-55KW的电动滚筒。
(3)YTW型为硬齿面行星齿轮传动,采用 NGW原理,其设计与使用寿命均优于其他型号,该产品是大功率(18.5~160KW)带式输送最理想的新型驱动装置。
安装形式及示意图
电机悬臂式Ⅰ型(见图1、表1)
  
注:Φ 500-Φ 1000筒体及支座部分的安装尺寸见表1
外装式电动滚筒与电机的联接方式
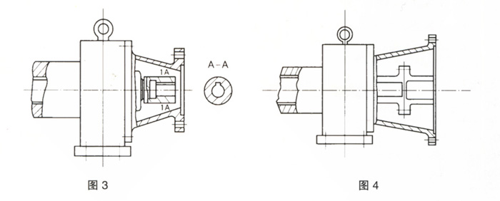
(1)YDW型电机悬臂的外装式电动滚筒一般采用柱销式联轴器联接(如图4所示)。外置电机功率1.5-7.5KW的电动滚筒也采用套筒式联接(如图3所示)。随着外装式电动滚筒的不断革新与技术进步,我公司将根据用户要求对联接方式进行改进,以达到最佳传动效果。
(2)电机具有安装支座的外装式电动滚筒因配用功率较大(一般在45KW-160KW之间),应选用弹性联轴器或液力耦合器联接。其电机、弹性柱销联轴器及液力耦合器的配用,可根据配用电机功率选型。
外装式电动滚筒的附加功能
(1)更适合于筒体包胶或其他覆层。因为主要热源电机已移至筒体外面,电机的散热可以不受包胶的影响。
(2)可以方便的改成隔爆型电动滚筒。只需将普通电机更换成隔爆型电机即可,并按隔爆电机要求引入电源和进行维护。
(3)也可以配用调速电机,用于皮带机需要调速的特殊场合,安装形式采用Ⅱ型(即电机具有安装支座,见图2)。
|